Поточний час: 27 квіт 2026, 16:18

Часовий пояс: UTC + 2 години



Почати нову тему Відповісти на тему  [ Повідомлень: 14 ] 
Автор Повідомлення
#111249Повідомлення 06 жовт 2020, 15:34 
Ветеран руху
Не в мережі

Звідки: Киев Киев
Дякував (ла) 127 Подякували 94
Сравнительный анализ электродвигателей с различной конфигурацией магнитных систем.
Статья. Научная и правдивая.
ну и видео интересной конструкции ротора.
https://www.youtube.com/watch?v=vvw6k4ppUZU




Додаткові файли:
vestnik_KhPI_2017_1_Grebenikov_Sravnitelnіy_analiz.pdf [1.48 МБ]
Завантажень: 593
Повернутися до початку
 Профіль  
Відповісти цитуючи  
#111285Повідомлення 07 жовт 2020, 11:58 
Не в мережі

Звідки: Россия
Дякував (ла) 4 Подякували 9
Мій електротранспорт: эл.самокат
Хочу електротранспорт: эл.авто
У стандартного асинхронника АИР100S4 номинальный момент около 20 нм (3000вт 1420 об/мин) при плотности тока в обмотке около 7 а/мм2.
В статье, у PMSA мотора с ниодим. магнитами и размерами ротора идентичными АИР100S4, при плотности тока 5а/мм2 получили (по расчетам) момент 45 нм (на 133% больше) в 2.25 раз больше.
Как-то трудно в это поверить. Для этого рабочая индукция у PMSA мотора должна быть тоже, грубо, в 2.25 раз больше, это как-то не реально ибо рабочая индукция в стандартных асинхронниках уже порядка 0.8-1 Тл.


Повернутися до початку
 Профіль  
Відповісти цитуючи  
#111287Повідомлення 07 жовт 2020, 12:33 
Ветеран руху
Не в мережі

Звідки: Киев Киев
Дякував (ла) 127 Подякували 94
kor писав(ла):
Как-то трудно в это поверить. Для этого рабочая индукция у PMSA мотора должна быть тоже, грубо, в 2.25 раз больше, это как-то не реально

1) я лично знаю Автора статьи много лет.
2) он занимается НАУКОЙ в области электрических машин и "магнитных линз" уже лет 20точно.
3) всё приведенное в статье ПРАВДА, все цифры получены в расчетах, моделированиях, и подтверждены в лаборатории. Я там был и не раз, мы с ним пытались пару проектов развернуть, но... с китайскими ценами на моторы - мы решили не вкладываться тут во что-то серьезное, потому что рынка нет, и непонятно когда вернутся деньги.
4) не проблема получить магн.поток и в 1.8 Тесла. Надо знать как :)


Повернутися до початку
 Профіль  
Відповісти цитуючи  
#111292Повідомлення 07 жовт 2020, 15:02 
Не в мережі

Звідки: Россия
Дякував (ла) 4 Подякували 9
Мій електротранспорт: эл.самокат
Хочу електротранспорт: эл.авто
Alex_Soroka писав(ла):
kor писав(ла):
Как-то трудно в это поверить. Для этого рабочая индукция у PMSA мотора должна быть тоже, грубо, в 2.25 раз больше, это как-то не реально


4) не проблема получить магн.поток и в 1.8 Тесла. Надо знать как :)

Если рабочую индукцию сделать 1.8 тесла, то в теле зуба она превратится грубо в 3.6 Тл (половину сечения отберет паз). 3.6 Тл сталь статора не пропустит, у нее насыщение при 1.7...2 Тл.


Повернутися до початку
 Профіль  
Відповісти цитуючи  
#111293Повідомлення 07 жовт 2020, 15:03 
Творець електромобіля, член клубу
Не в мережі

Звідки: Украина
Дякував (ла) 117 Подякували 562
Мій електротранспорт: COOLON
Хочу електротранспорт: COOLON
Мы в своих Реактивниках вкачиваем 1.8 и 20А на кв.мм не так уж и страшно. Просто 1.8Тл на 1кГц это ппц потерь в стали. Даже несмотря на хорошую сталь. С магнитами всеравно пора прощаться. сейчас актуальны Гибриды из IPM и SRM . ШЗЬ на Холлбах сборках на нихких оборотах работает получше. А на вісоких с вісокими токами уже реактивники віигрівают.

_________________
CEO COOLON MOTORS
Head Project "City Truck "COOLON"
https://coolonmotors.com


Повернутися до початку
 Профіль  
Відповісти цитуючи  
#111294Повідомлення 07 жовт 2020, 15:43 
Ветеран руху
Не в мережі

Звідки: Киев Киев
Дякував (ла) 127 Подякували 94
SRMotor писав(ла):
Мы в своих Реактивниках вкачиваем 1.8 и 20А на кв.мм не так уж и страшно. Просто 1.8Тл на 1кГц это ппц потерь в стали. Даже несмотря на хорошую сталь.

мы в своих расчетах даже рассматривали "аморфное железо". в Украине есть производство аморфной стали, тонкие ленты, из них можно набирать статоры и роторы.

Цитата:
С магнитами всеравно пора прощаться.

согласен. И без магнитов можно добиться высоких магн.полей. А еще магниты дорогие и "точка Кюри" все портит...


Повернутися до початку
 Профіль  
Відповісти цитуючи  
#111300Повідомлення 07 жовт 2020, 18:42 
Активіст форуму
Не в мережі

Звідки: г. Токмак Запорожская область
Дякував (ла) 23 Подякували 60
Хочу електротранспорт: Трайк с легкой кабинкой
Особенность двигателей с магнитными сборками Холбаха - отсутствие железа и как следствие потерь в нём. КПД определяется потерями в меди, трением в подшипниках и затратами на вентиляцию воздуха в корпусе. Удельная мощность очень велика, двигатель с постоянной мощностью 7 лс при 8400 об/мин имеет массу вместе с контроллером всего 0,63 кг и КПД -95%. Эта мощность на на 1 кг массы мотора одного порядка с турбовентиляторным двигателем самолета Вoeing 747-400 или отечественным турбовинтовым двигателем самолета ТУ-95! Двигатель мощностью 16000 лс будет весить около 1000 кг.

_________________
Все беды в электричестве от поганого контакта!


Востаннє редагувалось Петро Чех 07 жовт 2020, 19:16, редаговано 1 раз.

Повернутися до початку
 Профіль  
Відповісти цитуючи  
#111303Повідомлення 07 жовт 2020, 19:08 
Активіст форуму
Аватара користувача
Не в мережі

Звідки: Троицк
Дякував (ла) 69 Подякували 105
Alex_Soroka писав(ла):
SRMotor писав(ла):
Мы в своих Реактивниках вкачиваем 1.8 и 20А на кв.мм не так уж и страшно. Просто 1.8Тл на 1кГц это ппц потерь в стали. Даже несмотря на хорошую сталь.

мы в своих расчетах даже рассматривали "аморфное железо". в Украине есть производство аморфной стали, тонкие ленты, из них можно набирать статоры и роторы.

1 КГц. для стали это нормальная частота.
Другое дело может на гистерезис или вихревые токи либо на насыщение (в связи с малым обьемом железа) потери - это да.
0,05 железо с успехом работает на 20 КГц.
В том же метро стоят 400 Гц. трансформаторы, (груженные на инвертора) с набором из миллиметровых пластин (а то и толще) мощностью 20 КВт. и работают курглосуточно без охлаждения. Это их штатный режим.

_________________
-----------------------------------------------------------------------
Лучше сразу взяться за ум, чтобы потом не хвататься за голову!


Повернутися до початку
 Профіль  
Відповісти цитуючи  
#111321Повідомлення 07 жовт 2020, 21:21 
Творець електромобіля, член клубу
Не в мережі

Звідки: Украина
Дякував (ла) 117 Подякували 562
Мій електротранспорт: COOLON
Хочу електротранспорт: COOLON
Холбах у теслы в железе. Т.е ipm, но там хитро намагниченые магниты. И оставлен большей проход для поля по железу.
Амфорные и порошковые металы в тяговых двигателях немогут работать. Слишком хрупкие. ((
1кГц частота нормальная, моя сталь и 2кГц тянет. Но 0.5Тл . Дальше ощитимо растут потери. До 200Вт на кг

_________________
CEO COOLON MOTORS
Head Project "City Truck "COOLON"
https://coolonmotors.com


Повернутися до початку
 Профіль  
Відповісти цитуючи  
#111367Повідомлення 09 жовт 2020, 07:39 
Творець електромобіля
Не в мережі

Звідки: Ярославль
Дякував (ла) 0 Подякували 202
Мій електротранспорт: ВАЗ-2108 гибрид
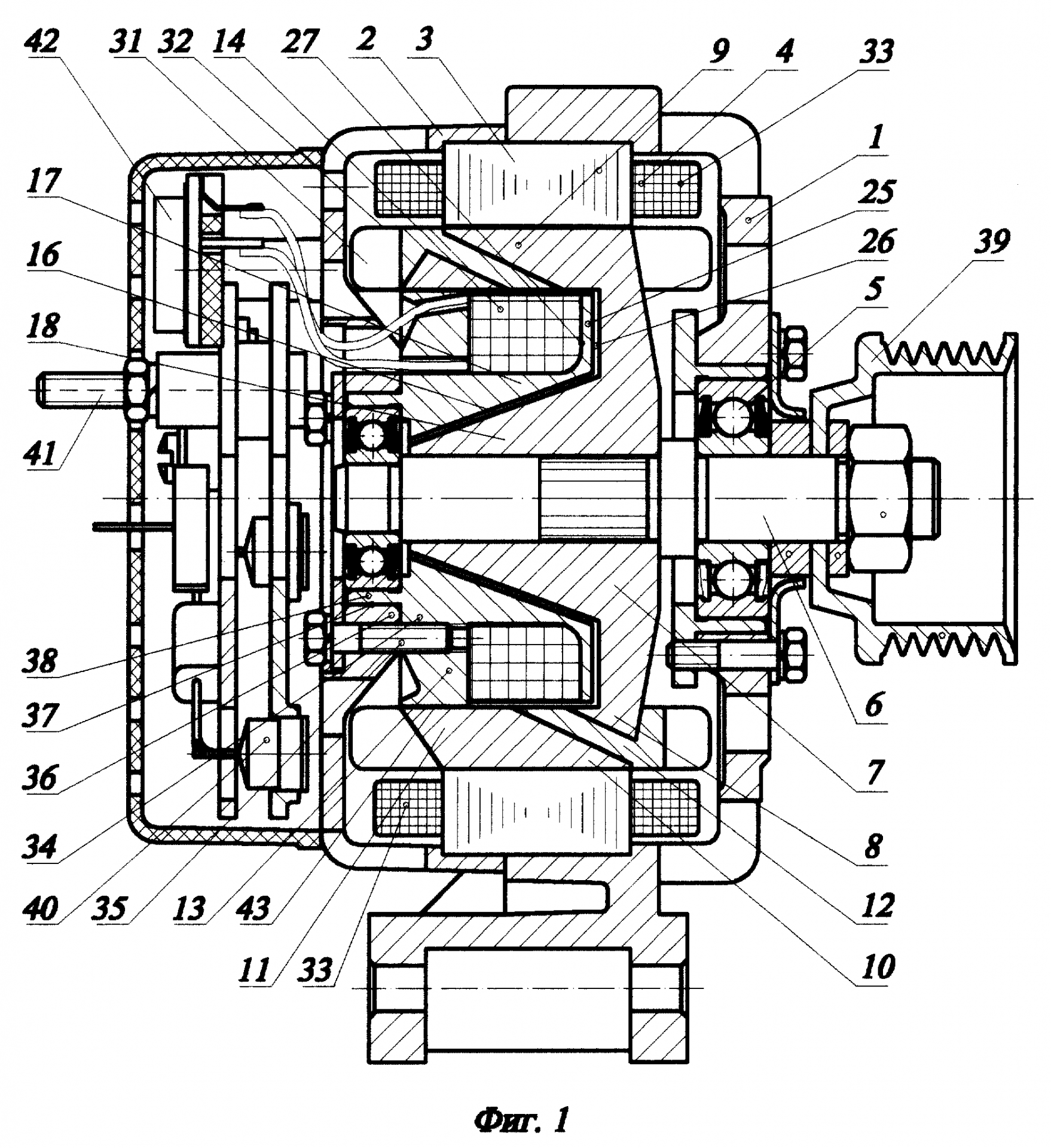
Как считаете, электромоторы такого типа не актуальны из-за низкого кпд или по другой причине?
Электродвигатель 411 НИЛД от компании ЗАО "Научно-исследовательская лаборатория двигателестроения" и ООО "ВАРТЕКС-5". Патент РФ № 2170487 от 10.06.2001 г., по которому этот электродвигатель изготовлен. Он предназначен для использования в качестве тягового в гибридных и полностью электрических транспортных средствах. Отличительной особенностью этого электромотора является его высокая удельная мощность: при своём скромном весе 32 кг он развивает максимальную мощность на валу до 120 кВт (163 л.с.). Из этих 32 кг только на сам электродвигатель приходится 28 кг, а на контроллер-инвертор - 4 кг.
Додаткові файли:
разрез.png
разрез.png [ 1.63 МБ | Переглядів: 17391 ]

Додаткові файли:
Нилд2.jpg
Нилд2.jpg [ 128.91 КБ | Переглядів: 17391 ]

Додаткові файли:
Нилд2_5.jpg
Нилд2_5.jpg [ 80.96 КБ | Переглядів: 17391 ]

Додаткові файли:
Нилд3.jpg
Нилд3.jpg [ 118.03 КБ | Переглядів: 17391 ]

Додаткові файли:
Нилд4.jpg
Нилд4.jpg [ 124.61 КБ | Переглядів: 17391 ]


Повернутися до початку
 Профіль  
Відповісти цитуючи  
#111368Повідомлення 09 жовт 2020, 08:05 
Активіст форуму
Не в мережі

Звідки: г. Токмак Запорожская область
Дякував (ла) 23 Подякували 60
Хочу електротранспорт: Трайк с легкой кабинкой
Не смог совместить в сознании мощность пусть и ном. 90квт и диаметр вала. Ну вал ладно, мож это направляющий, будем считать там фланец на отборе, но крепеж снова возвращает к мысли что ватты не настоящие. Научите пересчитывать, кто разобрался.

_________________
Все беды в электричестве от поганого контакта!


Повернутися до початку
 Профіль  
Відповісти цитуючи  
#111369Повідомлення 09 жовт 2020, 08:31 
Творець електромобіля
Не в мережі

Звідки: Ярославль
Дякував (ла) 0 Подякували 202
Мій електротранспорт: ВАЗ-2108 гибрид
Петро чех писав(ла):
Не смог совместить в сознании мощность пусть и ном. 90квт и диаметр вала. Ну вал ладно, мож это направляющий, будем считать там фланец на отборе, но крепеж снова возвращает к мысли что ватты не настоящие. Научите пересчитывать, кто разобрался.

Разрез представлен как иллюстрация к патенту, судя по всему там что-то похожее на генератор для автомобиля. На разрезе интересен только момент со статором возбуждения ротора, это который внутри ротора и не вращается. Другой статор снаружи и с помощью него уже создается вращающееся магнитное поле. Щеток нет, магнитов нет. Ослабление магнитного поля ротора тем же макаром как на мотороах Лерой-Сомер французских электрических ситроенах и рено начала 2000х, но без щеток.


Повернутися до початку
 Профіль  
Відповісти цитуючи  
#111371Повідомлення 09 жовт 2020, 08:42 
Творець електромобіля
Не в мережі

Звідки: Ярославль
Дякував (ла) 0 Подякували 202
Мій електротранспорт: ВАЗ-2108 гибрид
Это бесщеточный генератор по тому же принципу. Соответственно в обрантую сторону получаем вентильный электродвигатель с ослаблением поля без щеток.
Додаткові файли:
бесщеточный генератор.jpg
бесщеточный генератор.jpg [ 275.31 КБ | Переглядів: 17371 ]

Как устроен в документе во вложении
Додаткові файли:
бесщеточный генератор.pdf [759.48 КБ]
Завантажень: 820

Пардон, в этом все же есть магниты, но конструктивно близкий к предыдущим.


Повернутися до початку
 Профіль  
Відповісти цитуючи  
#111376Повідомлення 09 жовт 2020, 10:20 
Не в мережі

Звідки: Украина Сумы
Дякував (ла) 78 Подякували 50
Хочу електротранспорт: неопределился
SRMotor писав(ла):
С магнитами всеравно пора прощаться. сейчас актуальны Гибриды из IPM и SRM


Мне кажется для привода автомобиля,использования одиночного двигателя является не очень хорошим вариантом, падения КПД на низких оборотах, даже с сохранением момента да и ослабление поля тоже не обходится без потерь, (правда это относится к контролеру).
По самому двигателю: есть несколько параметров куда уходят проценты КПД это во первых железо, чем оно качественней тем в нём меньше потери, второе немного парадоксальное чем меньше вес железа тем меньше потери!!! третье это провода чем их больше(поперечное сечение) тем сопротивление меньше соответственно меньше потери, четвёртое это дать возможность двигателю работать в диапазоне больших КПД.

_________________
---------------------------------------------------


Повернутися до початку
 Профіль  
Відповісти цитуючи  
Показати повідомлення за:  Поле сортування  
Почати нову тему Відповісти на тему  [ Повідомлень: 14 ]             

Часовий пояс: UTC + 2 години


Хто зараз на конференції

Зараз цей форум переглядають: немає зареєстрованих користувачів і гості: 25


Ви не можете створювати нові теми
Ви не можете відповідати на повідомлення
Ви не можете редагувати свої повідомлення
Ви не можете видаляти свої повідомлення
Ви не можете додавати додаткові файли

Найти:
Створено на основі phpBB® Forum Software © phpBB Group