Поточний час: 18 груд 2025, 03:15

Часовий пояс: UTC + 2 години


Правила форума


Обговорення лише самостійно зібраних/переобладнаних електромобілів на ходу


Почати нову тему Відповісти на тему  [ Повідомлень: 707 ]  На сторінку Пред.  1 ... 21, 22, 23, 24, 25, 26, 27 ... 48  Наступ.
Автор Повідомлення
 Заголовок повідомлення: Re: ровер 75 электро Лев Запорожье
#91460Повідомлення 29 вер 2019, 19:38 
Не в мережі

Звідки: Днепр
Дякував (ла) 1187 Подякували 1175
andy210 писав(ла):
Критика это хорошо! Главное чтоб подкреплена была аргументами! :mrgreen:

...если такое замечено за мной - прошу немедленно и беспощадно указать на это! Всегда стараюсь «такое» исключать...


Повернутися до початку
 Профіль  
Відповісти цитуючи  
 Заголовок повідомлення: Re: ровер 75 электро Лев Запорожье
#91461Повідомлення 29 вер 2019, 20:02 
Творець електромобіля, член клубу
Не в мережі

Звідки: Днепропетровск
Дякував (ла) 215 Подякували 253
Мій електротранспорт: пока только Электроскутер
Хочу електротранспорт: нисан лиф уже не хочу! Тесла хочу!
Это было обращение к диванным критикам!


Повернутися до початку
 Профіль  
Відповісти цитуючи  
 Заголовок повідомлення: Re: ровер 75 электро Лев Запорожье
#91958Повідомлення 08 жовт 2019, 07:46 
Творець електромобіля, член клубу
Аватара користувача
Не в мережі

Звідки: Запорожье
Дякував (ла) 415 Подякували 1019
Мій електротранспорт: ROVER 75
Хочу електротранспорт: электробус
машина ездит) много чего еще по мелочи доделываю между поездками)
запустил зарядку в тестовом режиме,зарядка,внимание,)))))))) на тиристорах!
работает нормально,в сеть особо не срет,есть СС-CV.ток в моем случае до 50 ампер,(зависит от тиристоров).
собрал ее в корпусе от лифовской зарядки,подключил водяное охлаждение... дома заряжаю 10 а и на улице холодно,помпу даже не включаю.


Додаткові файли:
IMG_20191008_083154.jpg
IMG_20191008_083154.jpg [ 298.88 КБ | Переглядів: 10765 ]

_________________
подтягивайтесь на страничку
https://www.facebook.com/Create-your-el ... 8811748137
постараюсь чтобы было интересно!
Повернутися до початку
 Профіль  
Відповісти цитуючи  
 Заголовок повідомлення: Re: ровер 75 электро Лев Запорожье
#91960Повідомлення 08 жовт 2019, 08:32 
Не в мережі

Звідки: Днепр
Дякував (ла) 1187 Подякували 1175
Лев писав(ла):
машина ездит)

...уже на полном напряжении? И как? Делись ощущениями...


Повернутися до початку
 Профіль  
Відповісти цитуючи  
 Заголовок повідомлення: Re: ровер 75 электро Лев Запорожье
#91965Повідомлення 08 жовт 2019, 10:09 
Творець електромобіля, член клубу
Не в мережі

Звідки: Днепропетровск
Дякував (ла) 215 Подякували 253
Мій електротранспорт: пока только Электроскутер
Хочу електротранспорт: нисан лиф уже не хочу! Тесла хочу!
И видосик бы тоже не помешал! :winken:


Повернутися до початку
 Профіль  
Відповісти цитуючи  
 Заголовок повідомлення: Re: ровер 75 электро Лев Запорожье
#91991Повідомлення 08 жовт 2019, 19:30 
Творець електромобіля, член клубу
Аватара користувача
Не в мережі

Звідки: Запорожье
Дякував (ла) 415 Подякували 1019
Мій електротранспорт: ROVER 75
Хочу електротранспорт: электробус
да,уже на полном напряжении,нормально едет.комфортно,тихо,плавно...правда пока не докатан контроллер,приходится газом на подъем держать на перекрестках,а так все зашибись......и вебасту, надо скорее бачек поставить...

когда все доделаю,наверное сниму...правда не совсем понимаю что снимать,и что рассказывать)ну должно же видео нести в себе какую-то смысловую нагрузку, должен быть сюжет)

_________________
подтягивайтесь на страничку
https://www.facebook.com/Create-your-el ... 8811748137
постараюсь чтобы было интересно!


Повернутися до початку
 Профіль  
Відповісти цитуючи  
 Заголовок повідомлення: Re: ровер 75 электро Лев Запорожье
#91992Повідомлення 08 жовт 2019, 19:42 
Творець електромобіля, член клубу
Не в мережі

Звідки: Днепропетровск
Дякував (ла) 215 Подякували 253
Мій електротранспорт: пока только Электроскутер
Хочу електротранспорт: нисан лиф уже не хочу! Тесла хочу!
Лёва, ты как в мультике про Чебурашку и гену!
- мы строили строили и наконец построили! :mrgreen:


Повернутися до початку
 Профіль  
Відповісти цитуючи  
 Заголовок повідомлення: Re: ровер 75 электро Лев Запорожье
#91995Повідомлення 08 жовт 2019, 20:07 
Не в мережі

Звідки: Днепр
Дякував (ла) 1187 Подякували 1175
Лев писав(ла):
нормально едет.комфортно,тихо,плавно

...шо значит нормально?! Должно быть о...нно :lol: . А если серьезно - ты бы хоть в сравнении описал что да как. Ведь в бензиновом исполнении ты поездил прилично. На сколько изменилось ТС? В подробностях - динамика,скорость,управляемость и т.д. Да что мне тебе рассказывать,как нужно описывать новые (или другие,или изменившиеся) свойства Авто.
Если тебе пока некогда, или ещё «не распробовал» - так и скажи, подождём. А сказать просто «нормально»...ну не знаю...мои ожидания были другими...


Повернутися до початку
 Профіль  
Відповісти цитуючи  
 Заголовок повідомлення: Re: ровер 75 электро Лев Запорожье
#91996Повідомлення 08 жовт 2019, 20:11 
Творець електромобіля, член клубу
Не в мережі

Звідки: Днепропетровск
Дякував (ла) 215 Подякували 253
Мій електротранспорт: пока только Электроскутер
Хочу електротранспорт: нисан лиф уже не хочу! Тесла хочу!
Кстати а как ваши успехи в работе товарищ инженер? Давно не было слышно :winken:


Повернутися до початку
 Профіль  
Відповісти цитуючи  
 Заголовок повідомлення: Re: ровер 75 электро Лев Запорожье
#92000Повідомлення 09 жовт 2019, 03:19 
Секретар клубу
Не в мережі

Звідки: Киев, пр-кт Науки
Дякував (ла) 1101 Подякували 274
Мій електротранспорт: пока только електровелосипед
Хочу електротранспорт: ЭЛЕКТРА 3
andy210 писав(ла):
Это было обращение к диванным критикам!


Гарна тема і почитати і повчитися є чому.
А до критиків то вони завжди були, є і будуть на то і потрібен диван для цього. :D :D :D

_________________
АКБ убивает РАЗРЯД. Но жертву готовит неправильная зарядка.


Повернутися до початку
 Профіль  
Відповісти цитуючи  
 Заголовок повідомлення: Re: ровер 75 электро Лев Запорожье
#92034Повідомлення 09 жовт 2019, 17:17 
Творець електромобіля, член клубу
Аватара користувача
Не в мережі

Звідки: Запорожье
Дякував (ла) 415 Подякували 1019
Мій електротранспорт: ROVER 75
Хочу електротранспорт: электробус
Инженер писав(ла):
...шо значит нормально?!

ну то и значит) езжу,чувствую себя человеком...но блин все равно все голову воротят,как будто на трабанте еду.

_________________
подтягивайтесь на страничку
https://www.facebook.com/Create-your-el ... 8811748137
постараюсь чтобы было интересно!


Повернутися до початку
 Профіль  
Відповісти цитуючи  
 Заголовок повідомлення: Re: ровер 75 электро Лев Запорожье
#92036Повідомлення 09 жовт 2019, 20:47 
Активіст форуму
Не в мережі

Звідки: Днепр
Дякував (ла) 204 Подякували 81
Мій електротранспорт: пока нету
Хочу електротранспорт: очень хочу...
Пусть воротят 8O
Ровер в потоке как трабант. Сколько езжу а в потоке ни роверов ни трабантов не встречал хотя в Днепре не сильно и далеко от Жени но ни разу даже мельком не видел.


Повернутися до початку
 Профіль  
Відповісти цитуючи  
 Заголовок повідомлення: Re: ровер 75 электро Лев Запорожье
#92087Повідомлення 10 жовт 2019, 18:13 
Творець електромобіля, член клубу
Аватара користувача
Не в мережі

Звідки: Запорожье
Дякував (ла) 415 Подякували 1019
Мій електротранспорт: ROVER 75
Хочу електротранспорт: электробус
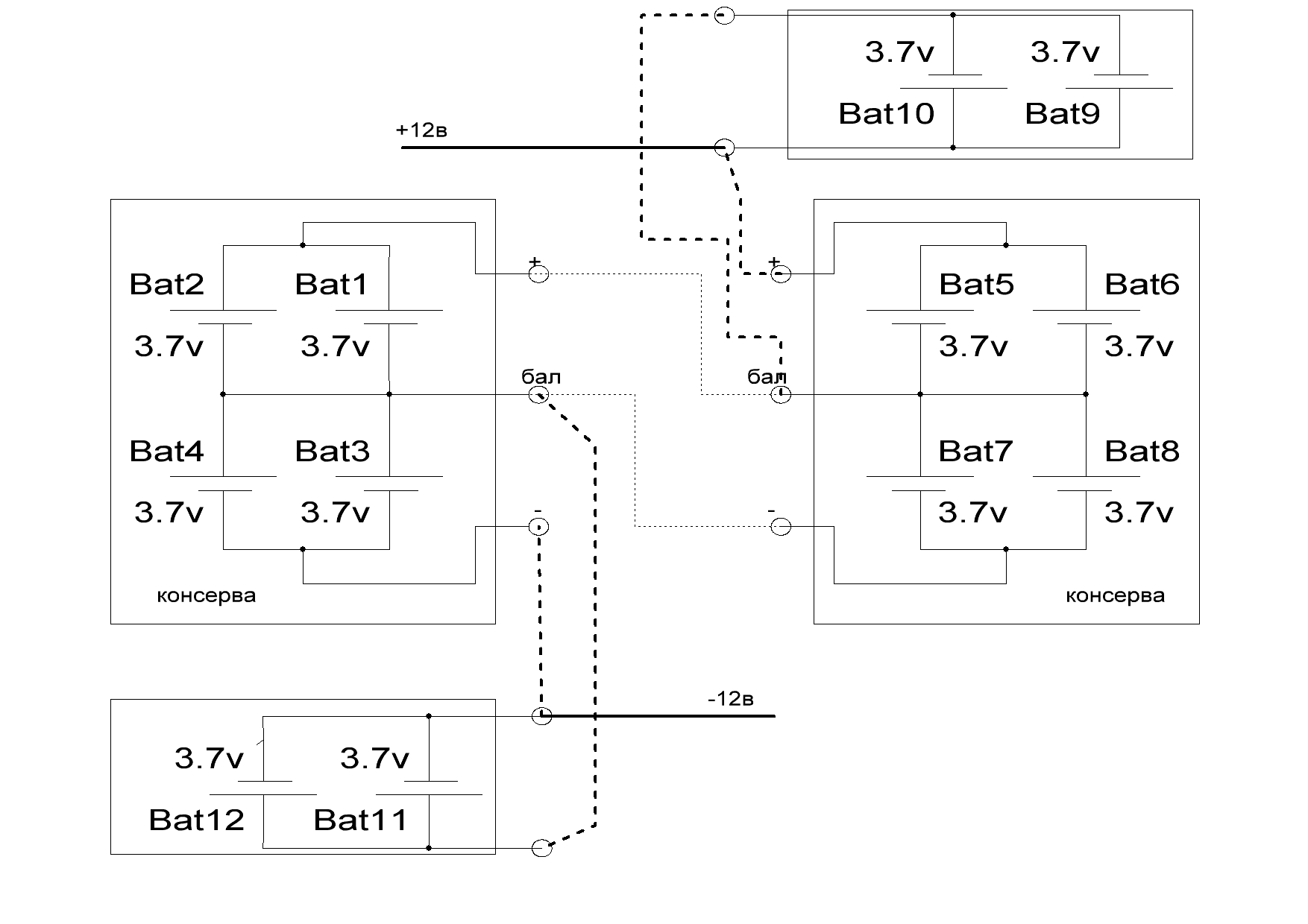
сегодня поставил бортовой аккум.и запустил ДИ-СИшку,теперь хорошо! Спасибо Андрюхе (andy210) за подогнанные консервы!
аккум составил из трех консерв(три ячейки в послед,и четыре в параллель)
ДИ-СИшка работает на два входа,одно управление при езде,если разрядится до 10.5 то включится,и отключится на 11.5.
второе управление когда машина стоит на зарядке,то заряжает всегда до 12.4.
авто постепенно превращается в авто)

_________________
подтягивайтесь на страничку
https://www.facebook.com/Create-your-el ... 8811748137
постараюсь чтобы было интересно!


Повернутися до початку
 Профіль  
Відповісти цитуючи  
 Заголовок повідомлення: Re: ровер 75 электро Лев Запорожье
#92095Повідомлення 10 жовт 2019, 20:01 
Не в мережі

Звідки: Україна
Дякував (ла) 1653 Подякували 329
Мій електротранспорт: а ти чого, пацан, інтєрєсуєшся?
Хорошее решение! То есть, при благоприятных раскладах, при езде от зарядки до зарядки ВВБ, ДСшка может и не включиться, и не будет лишнего преобразования из высокого в 12, а значит и ваттчасы на км могут быть лучше 8)

Но конфиг так и не уловил - одна ж консерва 2s, сколько и как они подключены (или это не лифовские) ? :?


Повернутися до початку
 Профіль  
Відповісти цитуючи  
 Заголовок повідомлення: Re: ровер 75 электро Лев Запорожье
#92100Повідомлення 10 жовт 2019, 20:29 
Творець електромобіля, член клубу
Аватара користувача
Не в мережі

Звідки: Запорожье
Дякував (ла) 415 Подякували 1019
Мій електротранспорт: ROVER 75
Хочу електротранспорт: электробус
Dream Tractor писав(ла):
Хорошее решение! То есть, при благоприятных раскладах, при езде от зарядки до зарядки ВВБ, ДСшка может и не включиться, и не будет лишнего преобразования из высокого в 12, а значит и ваттчасы на км могут быть лучше 8)

ну да,на то и целился,ваттчасы в принципе и так не плохие,если не валить,на 70 км\ч около 100ватт на км,ну это по вольтметру и клещам.

Dream Tractor писав(ла):
Но конфиг так и не уловил - одна ж консерва 2s, сколько и как они подключены (или это не лифовские) ? :?

консервы от лифа,одну разобрал,две не трогал...подключил по схеме на рисунке


Додаткові файли:
Коментарій до файлу: схема подключения консерв.
батарея 12в.GIF
батарея 12в.GIF [ 30 КБ | Переглядів: 10530 ]

_________________
подтягивайтесь на страничку
https://www.facebook.com/Create-your-el ... 8811748137
постараюсь чтобы было интересно!
Повернутися до початку
 Профіль  
Відповісти цитуючи  
Показати повідомлення за:  Поле сортування  
Почати нову тему Відповісти на тему  [ Повідомлень: 707 ]              На сторінку Пред.  1 ... 21, 22, 23, 24, 25, 26, 27 ... 48  Наступ.

Часовий пояс: UTC + 2 години


Хто зараз на конференції

Зараз цей форум переглядають: немає зареєстрованих користувачів і гості: 131


Ви не можете створювати нові теми
Ви не можете відповідати на повідомлення
Ви не можете редагувати свої повідомлення
Ви не можете видаляти свої повідомлення
Ви не можете додавати додаткові файли

Найти:
Створено на основі phpBB® Forum Software © phpBB Group